宅基地是保障農民安居樂業和農村社會穩定的重要基礎,也是農民的基本生活資料和重要財產。為深入貫徹落實《重慶市江北區人民政府辦公室關于印發江北區農村宅基地審批管理實施辦法的通知》江北府辦發〔2020〕95號文件精神,進一步加強宅基地事前、事中、事后監管,既保護農民宅基地合法權益,切實為農民提供便捷高效的服務,又及時發現各類宅基地使用和建房規劃的違法違規行為,確保不產生新的違法違規占地行為,結合五寶鎮工作實際,特制定本辦法。
一、明確工作職責
(一)鎮農業服務中心
牽頭負責農村宅基地改革和管理工作,建立健全宅基地分配、使用、流轉、違法用地查處等管理制度;完善宅基地用地標準,指導宅基地合理布局、閑置宅基地和閑置農房利用;組織開展農村宅基地現狀和需求情況調查統計,及時將農民建房新增建設用地需求以及農用地轉用匯總資料上報區農業農村委,由區農業農村委原則上按季度集中報區規劃和自然資源局,區規劃和自然資源局辦理農用地轉用審批手續;參與編制國土空間規劃和村莊規劃;負責組織人員參加實地審查、開工放線、房屋驗收等工作,全面落實“一到場”“二到場”“三到場”;若涉及林地占用的,負責協調對接辦理林地占用相關手續,并審查是否影響林業、水利等事項;負責依法出具《農村宅基地批準書》(詳見附件6)等。
(二)鎮規劃建設管理環保辦公室
負責國土空間規劃、土地利用計劃和規劃許可等工作,在國土空間規劃編制中統籌安排好宅基地用地空間,滿足合理的宅基地需求;對接區規劃和自然資源局依法辦理農用地轉用審批等相關手續;對接區規劃和自然資源局負責農村集中居民點鄉村建設規劃許可辦理;履行事前告知農戶農村宅基地使用要求的義務(詳見附件10);負責組織人員參加實地審查、開工放線、房屋驗收等工作,全面落實“一到場”“二到場”“三到場”;負責審查是否符合國土空間規劃、用途管制要求,審查是否影響生態環保等事項;負責依法出具《鄉村建設規劃許可證》(詳見附件5)等;完成驗收后應按照《重慶市江北區人民政府辦公室關于印發江北區農村宅基地審批管理實施辦法的通知》江北府辦發〔2020〕95號文件附件10第四條例執行。
(三)鎮屬其他有關部門
1.鎮經濟發展辦公室
負責在宅基地審批管理過程中,就涉及的電力、通訊以及燃氣等事項提出審批建議,并及時給出明確意見。
2.鎮村鎮建設服務中心
負責在宅基地審批管理過程中,就涉及的交通以及農村道路建設項目等事項提出審批建議,并及時給出明確意見;就涉及農房風貌改造建設的,參加房屋驗收工作,落實“三到場”,并及時簽署明確意見。
3.鎮平安建設辦公室
負責在宅基地審批管理過程中,就涉及的鐵路區域等事項提出審批建議,并及時給出明確意見。
(四)村民委員會(村集體經濟組織)
負責完善宅基地民主管理程序,明確村民委員會(村集體經濟組織)負責人為宅基地協管員;負責監督指導村民小組對農戶宅基地申請的受理等有關工作;負責核實村民小組提交的資料是否完整和真實有效、擬用地建房是否符合村莊規劃、是否征求了用地建房相鄰權利人意見等,并對審查通過的,簽署意見后報送鎮政府;負責組織人員參加實地審查、開工放線、房屋驗收等工作,全面落實“一到場”“二到場”“三到場”;配合鎮屬有關部門開展實地勘察、現場調查、動態巡查以及后期驗收等工作,并接受業務指導;負責動態巡查,發現未批先建農戶應及時制止,并上報鎮屬有關部門。
(五)村民小組
負責受理農戶申請,并將申請理由、擬用地位置和面積、擬建房層高和面積等情況提交村民小組會議討論并公示。討論、公示無異議或異議不成立的,將相關材料整理完善后提交村民委員會(村集體經濟組織)進行審查;負責日常動態巡查,發現未批先建農戶應及時制止,并上報村民委員會。
二、規范審批管理
農村居民利用原有宅基地建設住宅,新建、改(擴)建住房的,向村民委員會提出申請,由鎮屬有關部門依法辦理用地審批和鄉村建設規劃許可證。
農村集中居民點建設,由建設單位或個人向鎮政府提出申請,經鎮政府初審同意后報區規劃和自然資源局審查并按規定核發鄉村建設規劃許可證。涉及占用農用地的,應按《中華人民共和國土地管理法》第四十四條的規定辦理農用地轉用審批手續。
(一)申請條件
1.符合空間規劃要求。農村住宅必須符合國土空間規劃、村莊規劃、農村人居環境建設和農房風貌改造要求,確保風格統一,風貌一致,規范整潔。涉及占用林地的,按規定辦理占用林地審批手續;涉及占用農用地的,應依法辦理農用地轉用手續。
2.擁有集體成員資格。農村宅基地(包括住房、附屬用房和庭院等)用地性質為農村集體建設用地,屬農村集體經濟組織所有。本集體經濟組織成員享有宅基地使用權,有資格提出申請。
3.滿足一戶一宅規定。農村村民一戶只能擁有一處宅基地,只能以戶為單位提出申請。禁止未批先建、超面積占用宅基地。經批準異地建造住房的,應嚴格按照“建新拆舊”要求,注銷原有產權證,將原宅基地交還村集體經濟組織。農村村民出賣、出租、贈與現有住房后,再申請宅基地的不予批準。
4.嚴格控制建設規模。農村宅基地占地面積按照20至25平方米/人執行。其中3人以下戶可按3人計算, 5人及以上戶按5人計算。擴建住宅新占用的宅基地面積應連同原有宅基地面積合并計算。農村建房標準原則上不超過三層,同時應符合《村鎮住宅結構施工及驗收規范》(GB/T50900-2016)等國家現行規范、標準要求,確保工程質量安全。
(二)受理流程
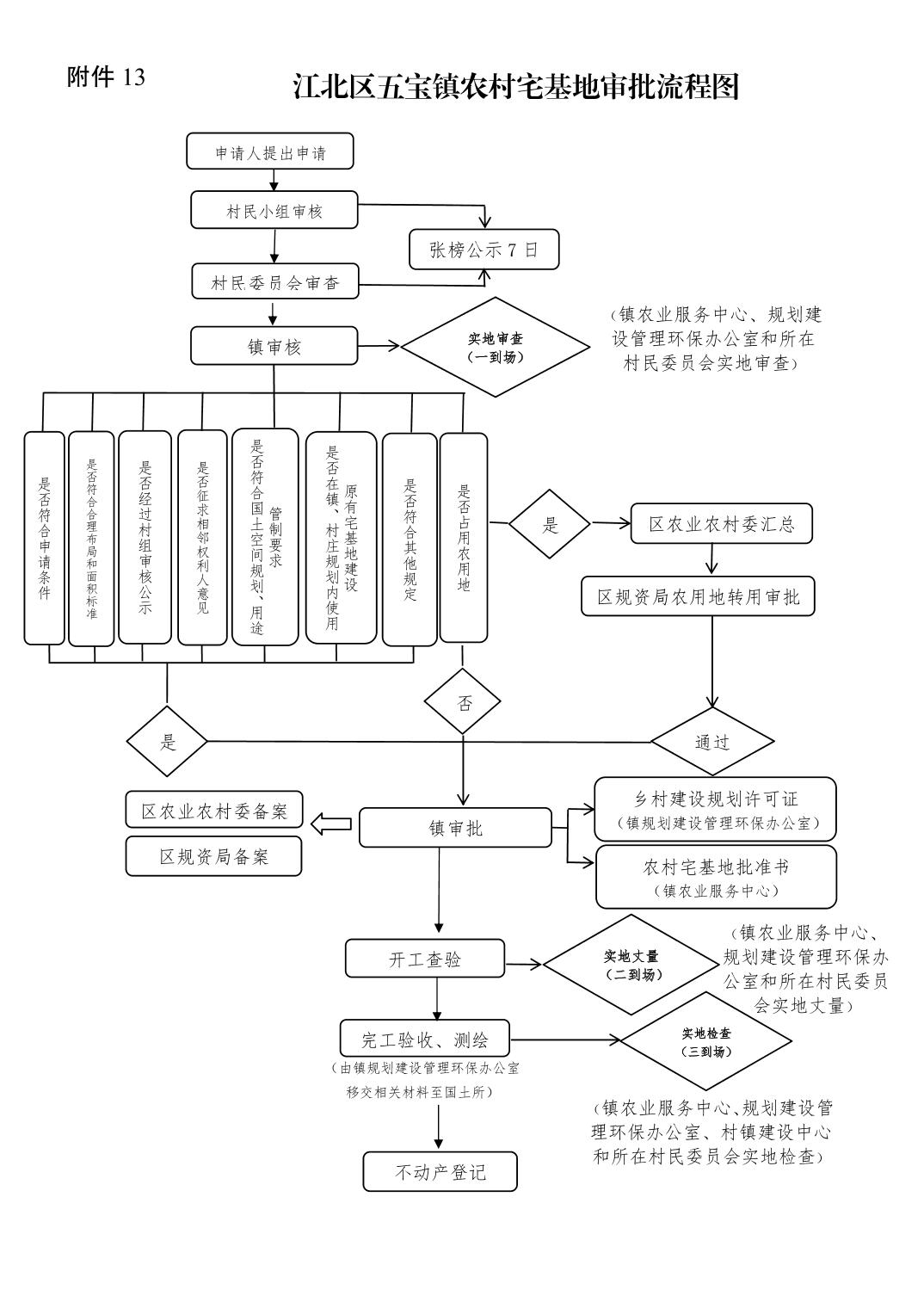
1. 申請。符合條件的農戶,以戶為單位向所在村民小組提出宅基地和建房(規劃許可)書面申請。
2. 受理。村民小組將申請理由、擬用地位置和面積、擬建房層高和面積等情況提交村民小組會議討論并公示。討論、公示無異議或異議不成立的,村民小組將相關申請材料提交村民委員會(村集體經濟組織)。
3. 核實。村民委員會(村集體經濟組織)重點核實提交的材料是否完善和真實有效、擬用地建房是否符合村莊規劃、是否征求了用地建房相鄰權利人意見等。審查通過的,由村民委員會(村集體經濟組織)簽署意見后,由申請農戶自行報送至鎮規劃建設管理環保辦公室。
4. 審查。鎮規劃建設管理環保辦公室會同鎮農業服務中心提出審批建議,并給出明確意見,重點審查申請人申請條件、擬用宅基地四至和面積標準、村組審核公示等情況;審查是否符合國土空間規劃、用途管制要求,是否辦理涉及占用林地、農用地審批手續。是否影響電力、通訊、燃氣、交通、鐵路等專業規范和建設項目等內容,須由鎮經濟發展辦公室、鎮村鎮建設服務中心、鎮平安建設辦公室等鎮屬其他有關部門提出審批建議,并給出明確意見。
(三)批準頒證
根據聯審結果,經鎮政府審批核準,由鎮農業服務中心依法出具《農村宅基地批準書》(詳見附件6)、鎮規劃建設管理環保辦公室依法出具《鄉村建設規劃許可證》(詳見附件5)。鎮屬有關部門要建立宅基地規劃許可和用地許可審批管理臺賬,做好資料收集歸檔留存。
(四)過程監管
鎮農業服務中心、鎮規劃建設管理環保辦公室和所在村民委員會(村集體經濟組織)應全面落實“一到場”“二到場”“三到場”要求。一是申請審查到場。收到宅基地和建房(規劃許可)申請后,鎮政府及時組織相關人員實地到場審查申請人是否符合條件、擬用地是否存在地質災害隱患、是否符合規劃和地類等。二是開工放線到場。應在農房建設開工前,實地丈量批放宅基地四至,確定建房位置。建設過程中,要加強巡查檢查。三是竣工驗收到場。完工后,鎮規劃建設管理環保辦公室、鎮農業服務中心、鎮村鎮建設服務中心(涉及農房風貌改造建設項目)會同所在村民委員會要及時組織驗收,實地檢查面積、四至、層數、風貌等是否符合批準要求。驗收合格的,由鎮規劃建設管理環保辦公室、鎮農業服務中心和鎮村鎮建設服務中心(涉及農房風貌改造建設項目)聯合出具《農村宅基地和建房(規劃許可)驗收意見表》(詳見附件7)。
(五)確權登記
通過驗收的農戶,可持由鎮規劃建設管理環保辦公室和鎮農業服務中心統一發放《農村宅基地批準書》(詳見附件6)、《鄉村建設規劃許可證》(詳見附件5)和《農村宅基地和建房(規劃許可)驗收意見表》(詳見附件7)至區規劃和自然資源局下屬五寶工作站申請不動產登記。
三、嚴格工作要求
(一)加強組織領導。成立由鎮農業服務中心和鎮規劃建設管理環保辦公室分管領導為組長,鎮農業服務中心、鎮規劃建設管理環保辦公室、村民委員會(村集體經濟組織)以及鎮屬其他有關部門負責人為成員的宅基地審批管理工作小組,負責統籌協調和研究解決宅基地審批管理工作的相關問題。
(二)強化資金保障。宅基地審批管理及確權登記事關廣大農民群眾的根本利益和農村社會穩定,工作量大,涉及面廣,技術性強,要統籌解決好農村宅基地審批測繪、攝影、制圖等技術性服務、宣傳引導、執法監督、農用地轉用等工作經費保障,確保宅基地審批管理各項工作順利推進。
(三)加強檔案管理。鎮屬有關部門要按照規定,全面摸清宅基地底數,掌握宅基地使用現狀,登記造冊,建立健全宅基地檔案及管理制度。明確專人,變更一宗,登記一宗,嚴格規范宅基地檔案管理、查詢和證明辦理等工作。
(四)嚴肅工作紀律。鎮屬有關部門要主動擔當作為,加大審批和監督管理力度,嚴禁推諉扯皮和不作為、慢作為和亂作為,防止出現工作“斷層”、“斷檔”。對工作不力、玩忽職守、濫用職權、徇私舞弊的,要依法嚴肅追責。
因機構改革,農村宅基地管理與審批職能劃轉期間暫停辦理農村住宅用地和建房許可的農房,嚴格按照相關規定據實補辦相關手續。
附件:1.農村宅基地和建房(規劃許可)審批所需材料
2.農村宅基地和建房(規劃許可)申請表
3.農村宅基地使用承諾書
4.農村宅基地和建房(規劃許可)審批表
5.鄉村建設規劃許可證
6.農村宅基地批準書
7.農村宅基地和建房(規劃許可)驗收意見表
8.同意xxx戶申請使用宅基地建房的會議決議
9.農村村民宅基地公示無異議證明
10.農村宅基地使用告知書
11.五寶鎮農村宅基地和建房(規劃許可)審批管理備案表
12.江北區五寶鎮農村宅基地和建房辦事指南
13.江北區五寶鎮農村宅基地審批流程圖
(此件公開發布)

















